中文版
英文版
首页
公司简介
产品展示
新闻资讯
在线订单
客户留言
联系我们
产品展示
PK钟型罩
铸铁材质PK钟型罩
铝质PK钟型罩
联轴器
CL星型弹性联轴器
XL星型弹性联轴器
ML梅花弹性联轴器
NL齿式弹性联轴器
夹紧式联轴器
油箱清洗盖
YG-200/YG-560系例油箱清洗盖
CR10-CR18系例油箱清洗盖
V250-V500系例油箱清洗盖
L型泵支架
梅花垫
GR弹性体
尼龙套
办公一角
展厅
泵套
水泵
联系我们
电话:0576-82676722
移动电话:13018822799
联系人:陈小姐
传真:057682457063陈方玲
http://www.deyima.com
Q Q :
Q Q :
您现在的位置 :
首页
>
新闻资讯
新闻资讯
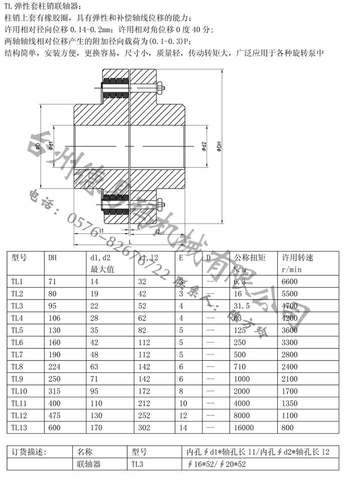
弹性套柱销联轴器PDF图纸(需要订货请参照PDF产品图纸)
点击次数: 信息来源: 发布时间:2026-04-03 22:17:10 【
打印此页
】 【
关闭
】
[返回]
上一条:
梅花弹性联轴器PDF图纸(需要订货请参照PDF产品图纸)
下一条:
泵支架PDF图纸(需要订货请参照PDF产品图纸)
浙公网安备 33100402331601号